专利申请透露苹果可能在研发全彩3D打印机
最近几年,3D打印技术已经变得越来越方便。有更多的3D设计文件可供下载打印,而桌面3D打印机的价格也越来越低。但是另方面,在彩色或者多色3D打印领域,相关技术设备仍然非常复杂而且昂贵,只有一些专业人士在很小的范围内使用。不过这一状况有可能很快就发生改变,因为就一系列专利申请动作来看,消费电子巨头苹果公司很可能正在研发彩色3D打印机。
2015年12月3日,苹果最新提交的一份专利申请被美国专利商标局公示了出来。这份申请文件概述了苹果公司关于开发一款具有全彩增材制造能力的3D打印机的研究情况。该公司申请的专利名称为《彩色对象的3D打印方法和装置》,标题一目了然,这是一种可以直接变成产品的技术。如果这项研究有所成果的话,我们真的可能有一天看到苹果公司将3D打印技术引入主流。
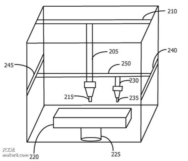
目前,市场上最常用的消费级3D打印机仅能够打印一种颜色的线材,如果要增加更多的颜色就需要在不同颜色的线材之间进行切换,十分麻烦而且容易出现问题。但是苹果公司提出的解决方案就非常巧妙,别出心裁。该公司在其专利申请中的建议是使用两个打印头,一个打印头的作用是层积材料,就像我们常见的3D打印头一样,另外一个打印头则更像2D打印机中的喷墨打印头,它的作用是在打印过程中将指定颜色施加到对象上。
是不是如获至宝?先别激动,苹果公司在该专利申请中囊括了此种方法的各种可能的版本,比如让打印头彼此平行对齐;或者让颜色头单独使用一个支持结构,与材料打印头分开等等。而且在施加颜色方面,苹果的专利也列出了几种可能性,其中包括材料打印头沉积一层之后,颜色打印头跟着覆上颜色;或者是整个3D对象打印完成之后再用颜色头围绕着对象进行喷漆上色等。
在专利申请中,苹果公司提到的几种施加颜色可能的方法包括喷墨技术、使用喷嘴、使用喷枪和多色标记,以及一种替代性的着色工艺,该工艺主要是在对象被打磨处理之后再添加颜色。
当然,目前我们并不知道苹果是否真的在进行开发并准备很快将一款具有彩色打印能力的3D打印机推向市场。但是该专利申请的某些部分似乎在暗示该公司在考虑将该技术用于实际应用。
这项专利宣称:“使用此工艺能够高效创建包括多种颜色的3D对象。它能够扩大3D打印机可打印对象的范围,并将其扩展到更多的日常对象上。例如,消费者可以使用这种3D打印机在家里打印玩具。”
该专利最早是在2014年5月30日提交的,专利发明人是Howard A. Miller和Geoffrey Stahl,后者是苹果公司游戏和图形软件工程总监,负责许多iOS和OS X技术的开发工作。
- 上一篇 >发行规模大增 2022年绿色债券市场扩容可期2022-02-17
- < 下一篇2015年度十大科技创新人物及团队揭晓2016-01-14

