重大消息!三星全息图像采集3D打印机专利曝光
一直强调自己无意涉足3D打印技术的三星电子公司,近来却申请了相关的专利。之前苹果公司也经历了同样的故事,看来这些科技巨头都在认真考虑是否要进军这一领域。不管怎么说,这对于消费者也算是件好事,意味着今后或许会有更多的选择。
这个3D打印机概念主要包括几个色彩盒,一个“防止渗出”的智能装置,以及几个控制材料的打印头。上次新闻中的相关图片只有一张,看出的信息有限,而这次通过更多的细节图,我们得知这其实是一项运用了全息图技术的3D打印机概念。
相关装置的简图
自然,这些图像来自美国专利局,他们表明三星电子公司已经申请并且被授予了3D打印装备的专利拥有权,同时也包括驱动它的方法。
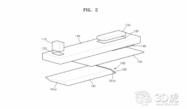
据了解,这台3D打印机概念主要包括:
-
发出光束的光源配置
-
光束分裂和扩展单元,把发出的光束拆分为一束参考光和信号光,并且对信号光进行扩展。
-
照明系统,提取被扩展的信号光,并对其进行校准。
-
空间光调制器(SLM),调节准直信号光。
-
物镜装置,把发射的调制信号光束转为全息记录介质。
-
参考光成型装置,把发射的参考光束转为全息记录介质。
三星全像式3D打印机概念透视图
这个设计的目的就是提供一种在全息记录介质基础上记录3D图像信息的方法,通过光敏存储介质形成干涉图象,这些干涉图像可以直接3D打印出来。
这项专利在2012年8月提交,于2015年12月15日正式授予三星电子公司。我们可以看出这项技术概念十分先进,所以也希望三星能够尽快向公众展示他们正在做的事情。
截面图
毫无疑问,这项3D打印概念一旦实现将会大大推进3D打印技术的发展,不过我们也需要等上一段日子,才能知道如何将光源真正加入制造过程。就像苹果公司一样,我们不知道那台3D打印机是否会面向公众出售,三星也一样,可能他们只是计划把这项专利技术用于内部研发也不一定,一切只能等时间来告诉我们答案。
- 上一篇 >发行规模大增 2022年绿色债券市场扩容可期2022-02-17
- < 下一篇将二氧化碳转化为绿色能源电池2016-03-07

