全球首款无边框手机到底是谁?
1836年10月2日,一艘叫皇家海军猎犬号的军舰,抵达英国法耳默斯港,完成了它第二次环球航行。三年后,一位名叫查尔斯·罗伯特·达尔文的乘客,发表了名为《小猎犬号航行之旅》的论文,从此掀开了进化论的序幕。
但每个恢弘的故事总会穿插几个“BUG”,作如是观,“活”着没什么意义的阑尾,绝对是伪知识分子在泡妞的时候,最喜欢用来质疑进化论的工具。作为行业的半个知道分子,为了使内容常见常新,类似这种尖锐、矛盾、戏剧性的选题,一直是笔者的首选,所以我们今天就来好好谈一谈——手机边框。
永恒的追求
边框是一个比阑尾更阑尾的问题,因为后者除了小概率病变以外,很少让人意识到它的存在,前者则是生死阔约,不离不弃。也许你会反驳我说,存在和存在感是两码事,大多数情况下,没人会在用手机的时候觉得边框碍眼,就像没人会注意到睁开眼就能看到自己的鼻子一样。
可我想说的是,在知晓此事之前,我的确是不纠结“鼻子”的,世界上一旦多了像你这种人艰不拆的坏蛋,就会让我们这些后知后觉的处女座,在余生的每一次睁眼都痛苦不堪。
当然,我绝对不是在含沙射影地指责“ID无边框”的乐视手机,因为这会显得我是个连“ID”是什么都不知道的文盲。至于号称“全球首款无边框手机”的LG、 夏普、OPPO、努比亚、小霸王、以及未来的360手机(排名分先后),我想也许你们也都是对的,在一个神奇的国度,玩一个神奇的文字游戏,作为受众,我 除了检讨自己的无知以外,只能无耻地安慰自己——幼稚。
手机圈的人,在无法为牛X找到更具体的说辞时,最喜欢用的一句话是——“你用过以后肯定是回不去了”。我们不能简单粗暴地认为他们是在耍流氓,因为用户体验有时候的确很难用语言表达,就像乔布斯把口水都说干,也抵不上你拿着iPhone滑动一下。
所以无边框到底有多牛逼,我可以很负责任地对你说:“你用过以后肯定是回不去了。”如果一定要为此加个冠冕堂皇的理由,无非就是——在有限的机身内部,嵌入一块无限接近机身大小的屏幕,是手机厂商们永恒的追求。
残酷的现实
稍有常识的人都知道,“边框”的有无不存在审美成本,而是技术受限。
就像你所知道的那样,索尼在黑科技的江湖地位用“大法”二字足以概括。前不久,一位索尼手机的产品经理,在与雷锋网记者的交流中,表达了他的困惑:
“现在中国的那些无边框手机有做到手机厚度在7.5mm以下的吗?前些日子看到乐视手机的三围,那是我们抛弃不用的技术。不知最近发布的努比亚Z9,以及360(手机,未发布)是啥三围?好奇最近半年业界是不是真出新技术了。”
在进一步确认了无边框手机的三围之后,显然他被震惊的心灵得到了些许安慰。心怀索尼未竟的事业,他的眼神开始变得柔和,45度仰望着残阳喃喃自语道:“窄边框—直是我们和苹果的目标啊~”
匆匆结束了这个令人伤感的话题,我不禁去想,边框的处理到底难在哪里?其实早在三年以前,大家都在猜测iPhone 4s会不会是一款无边框手机时,非著名评测网站爱搞机就做了以下科普,以正视听:
一.目前大多数手机屏幕都采用LED显示屏,而LED的液晶材质本身是不会发光的,需要液晶面板背部的发光源照射才能发光,为防止漏光,手机屏幕必须有一个边框。
二.电容屏触控板在屏幕四周有一圈对触摸进行定位的感应电路的走线和元器件,必须有一个边框遮挡住这些元器件。除非有新的工艺可以把两边的走线去掉或挪走,否则边框还是会一直存在。
三.玻璃的特性是硬度较高而脆度较低,在边缘受撞击的时候容易发生碎裂,手机边框不仅可以有效保护玻璃材质的屏幕,而且还可以起到美观的作用。
三年的时间转瞬即过,这些难点如今还具备说服力,在一定程度上也说明了这些年技术层面的突破,比很多人意淫中的要少一些。
没有概念就谈不上偷换?
在一款手机的研发过程中,每一个想法都必须通过很多测试。而屏幕与手机壳接合的强度和密封性,就是边框能做到什么程度的关键因素。就算产线上已经有了听上去屌屌的激光焊,但接合技术本质上还是胶水粘。听到这个是不是觉得有点low?要知道手机可是世界上最复杂,最精密的消费类电子产品。
所以当一款手机定位中高端的时候,这种粗糙的工艺是不应该让用户感知的。如果有人对“无边框”的猎奇心态,超越了对这些细节的纠结,那就可以果断入手一台Nubia Z9试试。肉眼可见的点胶,“婴儿般肌肤”的触感,拿到真机的那一刻你就明白我在说什么了。
但无论如何,在现有的技术水平下,很多手机厂商还是发挥了大无畏的创新精神,在宣传图上做出了令人虎躯一震的视觉效果。在顶礼膜拜之前,我们得意识到一个非常重要的问题:所谓的“无边框”其实是没有具体定义的,而不具体就会有漏洞可钻。
从思维层面上讲,用户对“无边框”的理解只有一种,就是从手机正面看过去全是屏幕,至少在左右两边看不到任何东西。这样的手机,曾有很多款苹果的概念机做到过。而务实的手机厂商对“无边框”的定义是…(此处略去无数个哈姆雷特)。
那些世界级难题
绕过手机厂商挖的思维深坑之后,局势就非常明朗了。手机中框的存在无可厚非,它只要在保证强度的前提下,做得尽可能薄就行。最重要的问题就是“黑边”究竟如何处理?答案是:奔着让它消失的目标的话,人类暂时无能为力。
在白色手机上,“黑边”会比较明显。所以鸡贼的乐视只会给你看黑色背景的手机渲染图。等你知道了真相,立马会有一种“边框没了,黑边抢眼”的即视感。值得注 意的是,“黑边”也不是纯粹的,它不可替代的存在是由防漏光的前面板、触控层的走线、以及LCD显示区域和前面板通透区域之间的间隙组成。
这些难题可都是世界级的,防漏光是光学问题,凭我们的智商基本上还没办法讨论这个。走线是材料问题,LCD玻璃没办法弯,像素纵横信号线总有一组要在边上。间隙是工艺问题,可对供应链和产线的控制,强如苹果这样的公司,也只能将空间越做越小,不可能重合。
厘清这些难点之后,真正的黑科技要登场了——柔性屏。三星的S6 edge虽然没有做无边框,甚至窄边框都算不上,但它是有潜力在不可能消除“黑边”的情况下,将“黑边”移至视觉死角的。三星之所以没这样做,可能很大程 度上是考虑另外一个问题,那就是防误触。此处按下不细表,只需参考下反面教材Nubia Z9。后者甚至在边框触控上做了“很贴心”的手势指令,其“好用”程度,可查看Zealer的测评。
一个神奇的专利
如果我是一个实在的手机厂商,看到这里基本上已经缴械投降了。但现在的手机厂商(除了乐视)明显都比记者的智商要高出一个数量级,就算不可能消除黑边,同时也没采用柔性屏,“无边框手机”还是活生生被整了出来。
早在今年的3月份,一向以挑战工业难度著称的OPPO,就被曝光了一项专利——特殊的导光结构的面板。结构图如下:
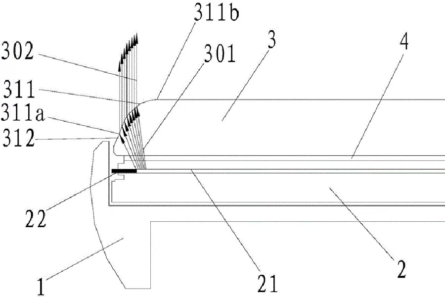
不过当OPPO的无边框手机还只存在于谍照中时,采用同一种方案Nubia Z9就发布了。不得不说,这的确是一种新的思路。将前面板玻璃的边缘进行弧面处理,经过凸透镜反射之后,原本很窄的黑边在视觉上几乎没有可辨识度。
这种处理方式看上去非常合理,难能可贵的是没像乐视那样侮辱用户的智商。但因此产生的三个后续问题却令人十分尴尬——手机厚度、视觉效果、误操作。
误操作问题前文已表,不再赘述。手机厚度则很大程度上是由玻璃厚度所导致,因为要想做出“无边框”的视觉效果,前面板玻璃要厚到足够形成相应的凸透镜,童年把玩过放大镜的人应该很容易理解。
至于视觉效果,则正好是凸透镜带来的弊端,不想看见的“黑边”被折射“没”了,想看见的屏幕却畸变了。在放大镜的作用下,用户能清晰看到屏幕边缘的像素线。无论你是否强迫症晚期,看着多少都会不怎么舒服。
附记
其实窄边框也好,超窄边框也好,无边框也好,从需求上看,都应该是一个敏感的手机厂商应有的追求。但如果纯粹靠着傻逼的基数很大,能忽悠一批是一批,这种厂商只能用“无耻”二字以蔽之。
欣慰的是,大多数手机厂商都还是正常的,只是有时候会在营销理念的作用下,偏执地追求一些不靠谱的东西。对于“无边框”一事,归根结底,它就是非刚需的需求,如果手机厂商一定要为此跟现实死磕,也请调整好死磕的姿势,这样至少能生得绚烂,死得其所。
- 上一篇 >发行规模大增 2022年绿色债券市场扩容可期2022-02-17
- < 下一篇将二氧化碳转化为绿色能源电池2016-03-07

