美国宇航局正在研发的适用于小公司的7项专利

美国航空航天局也致力于推动用于地球外太空技术的研发。因此,在过去的几年中,该机构已取得千余项专利授权,用于从充气住宅到人形机器人。
这项所谓的技术转让计划已经有一段时间,但本周美国航空航天局宣布了一项新的计划以配对其专利与创业公司,使小公司可免费从机构借用技术(至少在最初几年)。这是一个有趣的机会,能看到致力于太空研究的机构的大量现有发明。
他们当中的一些发明可以对世界产生显著的影响,有效地改进电池技术、自愈金属甚至像基于心跳的生物识别密码。
非晶机器人(美国专利号8662213)
该专利库实际上包括许多美国航天局建造的机器人,但其中最有趣的一个是BladderBot:无定形的机器人,旨在没有轮子或腿的情况下克服岩石或险恶地形。相反,它使用三个囊的液体和一个中央轴颈来将液体分配成不同的区域,使机器人在地球(或其他)的表面上移动。

合金的新型(专利申请中)
专利库里有大量的新材料,实际上其中有一整类,它包括一种称为NASA-427的具有更好拉伸性能的新型铝合金铸造形式。这项技术原本是为战神火箭计划而开发的,美国航空航天局希望汽车制造商将它用于更强大的车轮或制动卡钳。
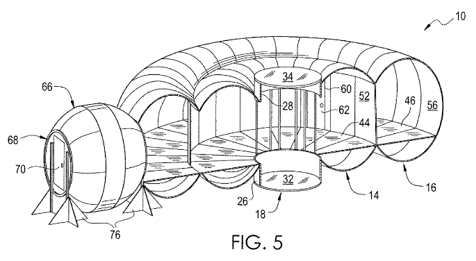
充气式居住仓(美国专利号8070105)
充气太空栖息地的概念20世纪60年代已经出现 - 事实上,这项由美国航空航天局在2011年拥有专利的设计甚至引用了1961年的设计。这是有意义的:在极端恶劣的环境下,包括空间,往往不可能将所需要的传统建筑材料带到栖息地,因此需要一种容易折叠地、像这样的可充气和加压的织物结构。

机器人-手套(美国专利号8255079)
美国航空航天局的一个将人形机器人送入太空来进行一些户外摄影的项目。像这样的机器人,被称为“你手上的机器人。”就像在全身外生长的骨骼,可以让工人在工业生产中抬起令人难以置信的重量,它增加了操纵者手部的力量,减少负荷重量,使抓握更加容易或者可以使你拿起物体的时间比平时更长。
自修复金属 (美国专利号8347479)
自愈合材料多次上榜并不是一件奇怪的事,但这种材料很有趣,因为它可以修复金属的裂纹。这实际上是一种涂覆在船体或工具特定区域的胶合剂。当裂缝形成时,材料被加热到其熔点(但比它们底层金属的熔点低)并将其液化以填充裂纹。正如美国航天局指出,现在这一过程必须在真空中进行,下一个目标是使它更容易在露天中实现。

心跳密码(美国专利号8489181)
今年,我们已经听到了很多关于生物计量的密码,并且美国航天局也正在研究它们:此项用于软件应用的专利使用了192个不同的参数来通过使用心脏跳动产生的波辨别人。

利用阳光将温室气体转换为燃料(专利申请中)
作为这个列表上最有趣的专利之一,这个问题仍悬而未决:太阳能驱动的二氧化碳(CO2)转换。研究细节还很少,但这是美国航空航天局设想的,可以在主要污染和工业用地上安装的用来收集二氧化碳的光电化学电池,避免其直接排放到大气当中。
该专利的描述到,利用太阳光,这些电池可以将气体转换成如甲烷一样的燃料。究竟如何实现的目前还不清楚,因为该专利没有被授予。但美国航空航天局表示,他们已经开发出一种方法,可以使这些光电池更加便宜和快速,更多地了解这各个项目会是非常有趣的。
新材料在线编译整理——翻译:王晶晶 校正:摩天轮
- 上一篇 >发行规模大增 2022年绿色债券市场扩容可期2022-02-17
- < 下一篇谷歌表示对“无人驾驶汽车撞上汽车”负责2016-03-11

