苹果离液态金属还有多远 ?是差一个iPhone 7还是iPhone 8?
2016年3月
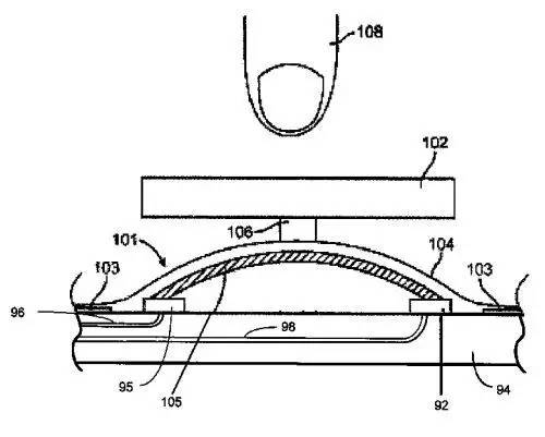
美国专利商标局近日批准了苹果40多项新专利,其中一份编号为9279733的专利描述了为iPhone、iPad的Home键配备液态金属。

液态金属的高延展性使之最适合压力传感Home键按钮,按下时轻微变形,手指离开后立刻返回正常形状。即便是钛、不锈钢等优秀材料也会慢慢发生不可逆转的变形,液态金属则会永远保留弹性。
2015年6月
苹 果第三度延长了特殊金属材质“Liquidmetal(液态金属,一种非结晶型合金)”的消费性产品独家使用授权期限,苹果已和 Liquidmetal Technologies Inc.更新了协议内容,苹果在消费性电子产品独家使用液态金属的权利期限将延长至 2016 年 2 月 5 日为止,这是双方三度决定延长限期。
2015年6月
苹果及其液态金属材料合作伙伴Liquidmetal日前又被授予两项液态金属工艺方面的新专利。
消息称,美国专利局此番授予的新专利包括制造液态金属产品加工原料以及应用于一体成型生产方面的最新工艺技术。

根据专利申请内容显示,第一项有关液态金属原材料加工方法的专利早在2012年5月就递交 了申请,该专利允许用这一方法加工处理后的材料可用于注射成型工艺。同时,第二项专利是在2011年2月申请的,主要内容则是有关液态金属产品3D热离子 成型工艺方面的,这一尖端工艺允许厂商在生产产品的时候轻松制造出拥有三维中空造型的产品模型。

2014年07月
2014 年3月申请的「反重力铸造中空形状(Counter-gravity casting of hollow shapes)」专利,能解决液态金属冷却速率难以掌控、可能导致材料结晶的问题。运用反重力铸造法,可增加对温度、装料量、黏性、注入速率以及注入压力 的控制准确度。

(Source:Google专利)
苹果也考虑在制作过程中以各种方式旋转模型,希望能藉此控制中空零件的厚度。以上述方式铸成的零部件将拥有各种不同的中空形状。
2014年5月
美国专利商标局(USPTO)曾在5月27日核准了苹果一份专利(字号为「No. 8,738,104」),内容描述了如何将iPhone屏幕玻璃(包括蓝宝石玻璃)与液态金属边框结合在一起的制程。

(Source:Google专利)
2013年11月
据美国专利商标局(USPTO)周四公布的一份文档显示,苹果公司日前申请了5项新的专利技术,这些专利技术均涉及液态金属技术。
苹果在专利申请文件中,描述了如何将这些技术集成到包括智能手机和平板电脑的各种设备上,以及如何构建下一代产品。
苹果提交的这些专利申请至少表明,未来苹果公司考虑将液态金属技术整合到其智能手机、平板电脑和数字显示中。
2010年8月
苹果取得液态金属技术的独家使用授权,在iPhone SIM卡针上试用液态金属。
自2010年苹果取得液态金属技术的独家使用授权后,液态金属与苹果的牵扯自此后便一发不可收拾,苹果将液态金属用于XX产品、苹果又申请了液态金属的XX专利,各种消息赚足了大家的眼球,也一次次刷新大家的消费观。
- 上一篇 >发行规模大增 2022年绿色债券市场扩容可期2022-02-17
- < 下一篇5张图告诉你,没有稀土我们究竟会有多惨!2016-04-20

