迪士尼申请瞬时3D打印技术专利 娱乐公司也有科技范儿
近年来,3D打印可谓红得发紫,运用的领域数不胜数,技术更是深入寻常百姓家。然而,3D打印的一大问题就是速度往往非常缓慢,这给3D打印产品的发展产生了不小的障碍。

如今,不曾以科技范儿形象示人的迪士尼爆出颇具里程碑的技术专利:迪士尼申请了名为‘Near Instantaneous Object Printing Using a Photo-Curing Liquid’(液体光敏树脂的近瞬时打印技术)。该技术有效地扫除了束缚高速三维打印的最大障碍:第一,缓慢的层到层生产方式;其次,浪费生产时间和材料的支撑结构。
以下是该公司的专利信息:
专利号:US 20160107380
专利名称:液体光敏树脂的近瞬时打印技术
授予日期:2016年4月21日
申请日期:2014年10月21日
发明者:Lanny S. Smoot、Alexander Hsing、Daniel Reetz
专利权人:迪斯尼企业
该专利描述了此3d打印机:一种近乎实时的3D打印机。

“现在,3D打印技术极端缓慢耗时,即使打印一个很小的物件,也要花上几个小时。一层一层打印,速度将是一个很大的限制。”
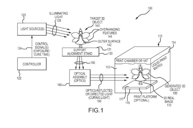
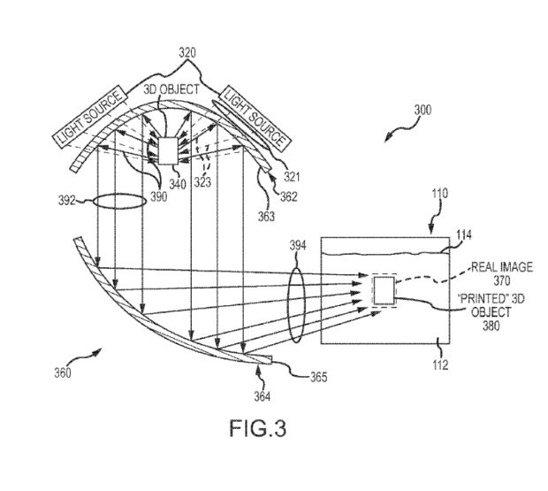
通常,在固化液态光敏树脂的时候,需要系统把电脑的三维CAD图像进行切片处理,然后右光源对树脂进行层层固化加工,而在固化过程中,为了节约材料,通常只固化建模图形的外壁,也就是说产品是空心或者内部是蜂窝状的。而根据迪士尼的专利申请描述,3D科学谷了解到迪士尼的3D打印技术绕过层层扫描固化的生产方法,而是通过一个或更多的光源将三维模型“注入”液态树脂内。几乎在瞬时间,三维模型就被固化出来,而以往层层生产这样的产品需要几个小时,现在变为几分钟。

另外,打印出来的3D对象,会漂浮于未固化的液体中,因此不用专门为其设计和打印支撑结构,而且3D打印完成后的对象取出也很方便,只需从液体中捞出即可。据迪斯尼公司声称,在他们进行的多次测试操作中,这款3D打印机使用UV光固化液体在几分钟或者更少的时间里有效地生成了3D对象,而非几个小时。迪士尼同时声称,这种容积式实像的光投影同样也可以根据3D数字模型来生成。
这一专利的核心在于其聚焦透镜技术,如此大量的光“注入”光敏树脂槽内,这需要巧妙地设计光折射,而我们知道光固化树脂有其固化波长范围。迪士尼聚焦透镜技术通过光学组件的反射或重定向聚焦来控制三维物体的外表面反射光波长,从而恰到好处地控制光敏树脂固化,形成精确光滑的固化表面。
怎么样,听起来是不是很炫酷?写到这里,小编只能感叹一声:全能的迪士尼啊!
- 上一篇 >发行规模大增 2022年绿色债券市场扩容可期2022-02-17
- < 下一篇国务院罕见派出督查组释放了什么信号?2016-05-12

